ISA总线模拟量输入板卡 Analog Input Legacy Products
AD12-8G 产品技术规格
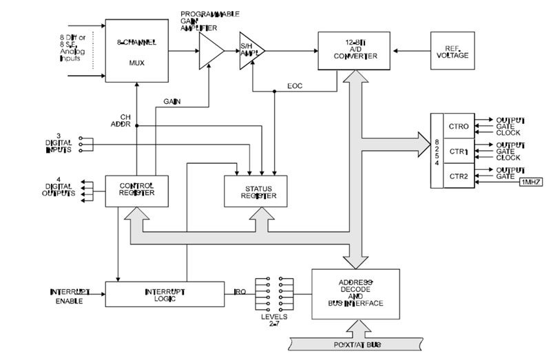
PC Interface

● ISA Bus

Analog Inputs

● Number of Channels: Eight differential or single- ended, individually DIP switch selectable for S.E. or Diff.

● Voltage Range: Programmable, ±5V (default), ±10V, ±0.5V, ±0.05V, ±0.01V, 0-10V, 0-1V, 0-0.1V, 0-0.02V.

● Overvoltage Protection: ±30 VDC.

● Input Impedance: 10 Megohm or 125 nA at 25°C.

● Common Mode Rejection Ratio: 90 db when gain = 1; 125 db when gain = 100.

● Multiplexer/Sample and Hold Settle Time: When gain = 1 : 30 µSec; When gain = 100 : 95 µSec

● Overall Accuracy: ±0.05% of full scale.

● Linearity: ±1 LSB.

● Resolution: 12 bit binary.

● A/D Trigger Source: Software selectable, external trigger, programmable timer, or program command.

● Conversion Time: 35 µSec max., 25 µSec typical.

● Temperature Coefficient: ±10 µV per °C zero stability. ±25 µV per °C gain stability.

Digital Inputs/Outputs

● Inputs

- Logic Low: 0 to 0.4V at 8 mA sink.

- Logic High: 2.4 to 5.0V at 0.4 mA source.

● Outputs (DIO 0 thru DIO 7)

- Logic Low: 0 to 0.4V at 8 mA sink.

- Logic High: 2.4 to 5.0V at 0.4 mA source.

Counter Timer

● Type: 8254 programmable interval timer, three 16-bit counters.

● Drive Capability: 5 LSTTL loads (2.2 mA at 0.45 VDC).

● Input Load (Gate and Clock): ±10 µA, TTL/CMOS compatible.

● Input Clock Frequency:10 MHz max.

● Active Count Edge:Negative edge.

● Clock Pulse Width: 50 nSec high / 50 nSec low, min.

Interrupts

● Level: Jumper selectable, levels 2-7.

● Enable/Disable: Via software. (INTE bit of Control Register. Service routines should acknowledge and re-enable interrupts.)

● Source: End of conversion or user application.

Environmental

● Operating Temperature Range: 0° to 60°C.

● Storage Temperature Range: -40° to +100°C.

● Humidity: 0 to 90% RH, non-condensing.

● Size: 9.0 inches long. (229mm),Requires full-size slot.

● Power Required: +5 VDC at 180 mA max. ; +12 VDC at 500 mA max.

Regulatory Compliance

● This product is designed to be in full compliance with CE requirements.

 
 

北京铭捷微芯科技有限公司

Copyright © Beijing Mingjieweixin Technology Co., Ltd

网站备案 / 许可证号:京ICP备11022535号-1